“こども達×発明=未来!”こども達のアイデアを無料で特許出願 『こども発明プロジェクト』2014年10月本格始動
告知・募集
2014年9月25日 10:30山崎知財研究所株式会社(所在地:東京都中央区、代表取締役・所長:山崎 幸作)は、小学生から高校生を対象に、こども達が考えたアイデアを無料で特許出願するプロジェクト『こども発明プロジェクト』を、2014年10月より本格的に始動いたします。
URL: http://yamazaki-ip.com/cips/
■プロジェクト立ち上げの背景
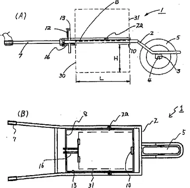
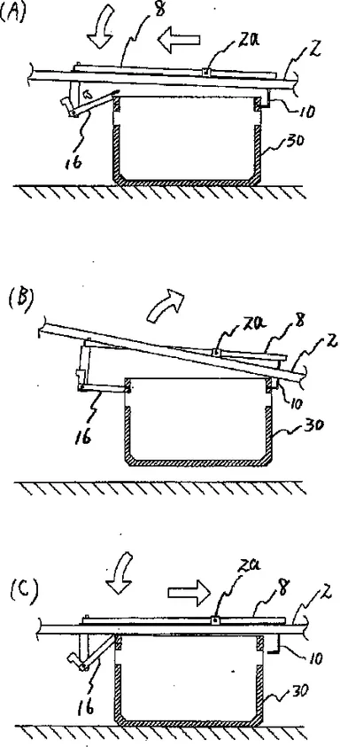
当社代表の山崎が2001年に長野県の工業高校で知的財産に関する講演をしたところ、その高校では生徒が発明活動をしており、その中の1件を特許出願することになりました。その発明は手押車の発明で(下記 手押車画像 参照)、農家の人たちの労力を軽減できるものでした。ボランティアで書類を作成すると、特許が取得でき、企業にその特許を買っていただき、さらにその発明品が実用化されました。
手押車画像(1) http://www.atpress.ne.jp/releases/51252/img_51252_3.gif
手押車画像(2) http://www.atpress.ne.jp/releases/51252/img_51252_4.gif
このような経験は、自分たちが考えたアイデアが形となり、社会に貢献できるということを学べる、こども達にとって貴重な体験です。
それと同時に、特許出願を通してこども達が発明や技術に関心を持ち、その中から10年、20年後に立派な技術者や研究者が生まれる可能性を広げる、未来の社会にも貢献できる活動でもあります。
その反面、特許出願は費用の面(出願手続きだけでも30万円から40万円程度)から、こども達が挑戦できる環境にはありませんでした。そこで、この費用の障害を取り除き、こども達に発明や特許出願をより身近に感じてもらうため、また未来の社会に貢献するため、本プロジェクトを立ち上げました。
■試験実施による実績
8月から試験的に開始し、既に2件は書類が完成し、こども達にチェックしていただいております。また、他に3件が進行中であり、うち1件は近日中に書類が完成する予定となっております。書類が完成次第、順次特許出願手続きを進めて行きます。11月には、大きな企業様が東北の小学校で開催する発明イベントに参加させていただき、そこで生まれた発明を特許出願したいと考えております。
■目標
現在、日本全国には、発明クラブに所属している小中学生が8,500名、その指導者が約2,800名おり(発明協会資料による)、また、工業科の生徒数は約26万人です(文部科学省情報による)。彼らを含む全国のこども達による発明の特許出願を、年間50件程度することを目標としております。
■運営資金
プロジェクトの趣旨にご賛同いただける企業様、個人の方からの資金的サポートでの運営を目指しております。現時点で個人2名の方からのサポートを受けております。
■協力者
現役の弁理士(現在16名が登録)が、ボランティアで書類を作成してくれることになっています。協力弁理士の方と話をしますと、自分たちのスキルを活かしたボランティア活動(プロボノ)に非常に積極的です。
また、ドイツ及びアメリカの弁護士からも協力を申し出ていただいておりますので、外国への出願も視野に入れております。
■運営母体
商号 : 山崎知財研究所株式会社、山崎知財事務所
代表 : 代表取締役・所長 山崎 幸作
所在地: 103-0028 東京都中央区八重洲1-8-17 新槇町ビル6階
URL : http://yamazaki-ip.com/cips/
■代表者略歴
1986年 群馬大学工学部機械工学科卒業
1986年4月から1989年 本田技術研究所特許課勤務
1994年から2014年 特許事務所勤務
1999年 弁理士登録
2014年 山崎知財研究所株式会社設立
山崎知財事務所設立
こども発明プロジェクト立ちあげ
2003年~現在 弁理士会ボランティア相談員

















