過負荷防止機能付でスムーズな操作性に安全性をプラス 排煙窓や換気窓を開閉できる『ハンドルボックス110-VI』2015年5月末発売
商品
2015年5月11日 11:00オイレスECO株式会社(本社:東京都品川区、代表取締役社長:田邊 和治)は、ワンタッチで窓を全開にし、緊急時にもスピーディーに開放できる過負荷防止機能付『ハンドルボックス110-VI』を2015年5月末より全国で発売します。
●『ハンドルボックス110-VI』の特長
(1) 独自の安心機構:操作ハンドルに過負荷防止機能を搭載しました。窓の閉めすぎによる不具合やワイヤーロープの破断を未然に防ぎます。
(2) ワンタッチで窓を全開:「排煙ボタン」を押すだけで窓が全開します。緊急時にもスピーディーに開放できます。
(3) デザインにこだわったハンドル一体型フェース:デザイン性を追求した新型フェースなので、設計の可能性が広がります。
排煙窓は火災が起きた時に発生する有毒な煙や熱を外部に排出させ、尊い人命を守る設備です。手の届かないところにある窓を、万が一のときに瞬時に操作するためのオペレーターである『ハンドルボックス110-VI』は、さまざまな間口形式に対応可能です。また、窓周りの部品はサッシの内側に収納可能なタイプもあり、建物の美観を損ねることなく設置できます。
●使用方法
<開放>
排煙ボタンを押すと窓がいっせいに開放します。
http://www.atpress.ne.jp/releases/61182/img_61182_3.jpg
<閉鎖>
(1) ハンドルレバーを引き倒します。
http://www.atpress.ne.jp/releases/61182/img_61182_4.jpg
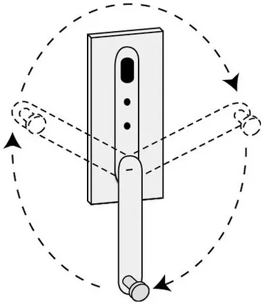
(2) 時計回りに回転させます。続けると窓が閉鎖します。
http://www.atpress.ne.jp/releases/61182/img_61182_5.jpg
<過負荷防止機能>
収納後、ハンドルボックスの負荷が50N(5kgf)を超えるとハンドルが空回りし、ハンドルボックスやワイヤーロープへの過剰な付加を防止します。
http://www.atpress.ne.jp/releases/61182/img_61182_6.jpg
<収納>
閉鎖後は必ずハンドルレバーを半時計回りに1回転以上回して真下の位置にし、グリップを収納穴にあわせ、ハンドルレバーの下部を押して収納してください。
http://www.atpress.ne.jp/releases/61182/img_61182_7.jpg
●オイレスECO株式会社について
社名 :オイレスECO株式会社
代表者 :代表取締役社長 田邊 和治
本社所在地 :東京都品川区西五反田7-21-1 第5TOCビル
設立年月日 :1973年12月20日
主な事業内容:・窓開閉機器および住宅用・ビル用設備機器と部品の販売、
製造、保守、点検
・建築関連向け省エネ機器、防災機器、建具、免震装置および
自動制御機器の取り付けならびに備え付け工事および
これらに付随するその他の諸工事 など
資本金 :2億円
●商品に関する消費者の方のお問い合わせ先
オイレスECO株式会社 東京支店
TEL : 03-5435-5462
ブランドURL: https://www.oiles-eco.co.jp/
●『ハンドルボックス110-VI』の特長
(1) 独自の安心機構:操作ハンドルに過負荷防止機能を搭載しました。窓の閉めすぎによる不具合やワイヤーロープの破断を未然に防ぎます。
(2) ワンタッチで窓を全開:「排煙ボタン」を押すだけで窓が全開します。緊急時にもスピーディーに開放できます。
(3) デザインにこだわったハンドル一体型フェース:デザイン性を追求した新型フェースなので、設計の可能性が広がります。
排煙窓は火災が起きた時に発生する有毒な煙や熱を外部に排出させ、尊い人命を守る設備です。手の届かないところにある窓を、万が一のときに瞬時に操作するためのオペレーターである『ハンドルボックス110-VI』は、さまざまな間口形式に対応可能です。また、窓周りの部品はサッシの内側に収納可能なタイプもあり、建物の美観を損ねることなく設置できます。
●使用方法
<開放>
排煙ボタンを押すと窓がいっせいに開放します。
http://www.atpress.ne.jp/releases/61182/img_61182_3.jpg
<閉鎖>
(1) ハンドルレバーを引き倒します。
http://www.atpress.ne.jp/releases/61182/img_61182_4.jpg
(2) 時計回りに回転させます。続けると窓が閉鎖します。
http://www.atpress.ne.jp/releases/61182/img_61182_5.jpg
<過負荷防止機能>
収納後、ハンドルボックスの負荷が50N(5kgf)を超えるとハンドルが空回りし、ハンドルボックスやワイヤーロープへの過剰な付加を防止します。
http://www.atpress.ne.jp/releases/61182/img_61182_6.jpg
<収納>
閉鎖後は必ずハンドルレバーを半時計回りに1回転以上回して真下の位置にし、グリップを収納穴にあわせ、ハンドルレバーの下部を押して収納してください。
http://www.atpress.ne.jp/releases/61182/img_61182_7.jpg
●オイレスECO株式会社について
社名 :オイレスECO株式会社
代表者 :代表取締役社長 田邊 和治
本社所在地 :東京都品川区西五反田7-21-1 第5TOCビル
設立年月日 :1973年12月20日
主な事業内容:・窓開閉機器および住宅用・ビル用設備機器と部品の販売、
製造、保守、点検
・建築関連向け省エネ機器、防災機器、建具、免震装置および
自動制御機器の取り付けならびに備え付け工事および
これらに付随するその他の諸工事 など
資本金 :2億円
●商品に関する消費者の方のお問い合わせ先
オイレスECO株式会社 東京支店
TEL : 03-5435-5462
ブランドURL: https://www.oiles-eco.co.jp/












