大手9のポータルサイトを横断検索できる「ふるさと納税ガイド」は、運営サイトを通して寄付した方の購買履歴やWeb調査、総務省発表のデータなどを分析及び解説する「データで分かるふるさと納税」カテゴリを新設しました。
第一弾記事は「人気自治体 変化の歴史」です。
ふるさと納税の受け入れ寄附金額の推移

2008年から始まった2011年に東日本大震災の災害支援の一つの形として注目を浴び、その後2012年のふるさとチョイスOPEN、2014年のふるなび、さとふるOPENといった複数のふるさと納税サイトの開設によって世間一般への認知が広がっていきました。その後、2015年の制度改正により控除限度額が2倍になった後の返礼品競争の激化により一気に受け入れ寄附金額が増加していきました。
総務省から公開されているデータは2018年までですが、2019年も2018年よりも更に大きな受け入れ寄附金額となったことは確実視されており、さらなる市場規模の拡大が予想されています。
ふるさと納税ガイドではふるさと納税の歴史を次の3つに分けて解説することができると考えています。
・2008年-2010年 黎明期
・2010年-2014年 成長期
・2015年-2018年 発展期
ふるさと納税黎明期:政令指定都市にふるさと納税が集中【2008年-2010年】
2008年に始まったふるさと納税ですが、始まった当初は「返礼品」を用意していない自治体も数多く存在しました。また、ふるさと納税という言葉自体が世間一般に認知されておらず、高額所得者を中心に一部の人のみしか行っていませんでした。
また、ふるさと納税サイトも存在しなかったため、より良い返礼品を選ぶという行為やふるさと納税の手続きも難しい時代でした。
そのため、東京都の各自治体や地方の政令指定都市などが受入金額の上位を独占しており、地方の小さな自治体は全く寄付金が集まらない状態でした。
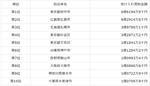
2008年:ふるさと納税受け入れ寄附金額TOP10

ふるさと納税成長期:義援金としてのふるさと納税や魅力的な返礼品が増える【2011年-2014年】
2011年には東日本大震災が起こり、東北地方を中心にその被害が連日大きく報道されました。ふるさと納税は被災地をサポートする仕組みとして注目を浴び、ふるさと納税の認知度が広がる最初のきっかけとなりました。(2011年:岩手県釜石市、福岡県相馬市など)
また2012年9月にはふるさと納税サイトの老舗「ふるさとチョイス」がオープンしました。また、2014年7月には「ふるなび」が、2014年10月には「さとふる」がそれぞれオープンしました。寄付する自治体を「返礼品で選ぶ」という文化が世間一般に徐々に浸透し始めたのもこの時期です。
2011年:ふるさと納税受け入れ寄附金額TOP10

ふるさと納税発展期:返礼品競争が加熱しふるさと納税ブーム到来【2015年-2018年】
2015年の制度改正によりふるさと納税の控除限度額が2倍になったことを受け、ふるさと納税に対する世間の注目度が一気に増し、ふるさと納税ブームが巻き起こりました。ふるさと納税サイトの数もどんどんと増え、返礼品競争が加熱したのもこのタイミングです。
ふるさと納税の受入金額も大きく増加していく一方、ふるさと納税に力を入れている自治体とそうでない自治体の格差も広がっていき、返礼品に関する規制が検討されることとなりました。
2015年:ふるさと納税受け入れ寄附金額TOP10

2015年は「干物」の返礼品が有名な静岡県焼津市、「うなぎ」の返礼品が有名な鹿児島県大崎町などがTOP10入りをしています。
2016年は大阪府泉佐野市がふるさと納税に力を入れだした年です。大阪府泉佐野市は2018年までのデータで累計受け入れ寄附金額が全国の自治体で第1位となりました。
2017年は大阪府泉佐野市が魅力的な返礼品で圧倒的な寄附金額を集めました。また、この年に上位になった10自治体のほとんどが、現在も多くの寄附金額を集める人気自治体となりました。
2018年はAmazonギフト券やHIS旅行券など、金券類を返礼品として用意した自治体が大きく受け入れ寄附金額を増やし、TOP10入りを果たした年となりました。なお、金券類を返礼品として用意することは、2019年6月の制度改正により明確に禁止となり、現在では返礼品として金券はありません。
総受入金額から見る人気自治体ランキング(2008年-2018年)と2019年以降の考察
2018年までのふるさと納税 総受入額ランキングや、2019年・2020年の考察は特集記事をご覧ください。























