Webサイトの障害アラートがSlack・Chatworkで通知可能に! Webサイト監視サービス「Appmill(アプミル)」が 「チャット連携」の新機能をリリース
~アラート通知を見逃すことなくスムーズな障害対応でWebサイト運用をより快適に~
クラウド/サーバー事業を提供する株式会社ビヨンド(本社:大阪市浪速区、代表取締役:原岡 昌寛、以下 「ビヨンド」)は、「Webサイトの表示が遅い・表示できない・セキュリティ警告が出る」などの問題を早期に検知できるWebサイト監視サービス「Appmill(以下 アプミル)」の新機能「チャット連携(Slack / Chatwork)」を2022年1月14日にリリースしました。Webサイトの改ざんやマルウェア感染などの攻撃をいち早く検知することで、大切なサービスを機会損失から守ります。
アプミル サービスページ: https://appmill.work/

Webサイト監視サービス「アプミル」とは
アプミルは「Webサイトの運用を少しでも『楽』にしたい。」という当社サーバーエンジニアチームの想いから誕生したサービスです。ただ機能が充実しているだけでなく、高額なセキュリティツールの導入が難しい企業や、ITの深い知識がない企業でも「手軽に使えるサービス」であることに強いこだわりを持っています。会員登録に必要なのは「メールアドレス」と「パスワード」のみで、URLを登録するだけでアプミルがWebサイトの問題を知らせてくれます。
新機能「チャット連携」で情報共有をよりスムーズに
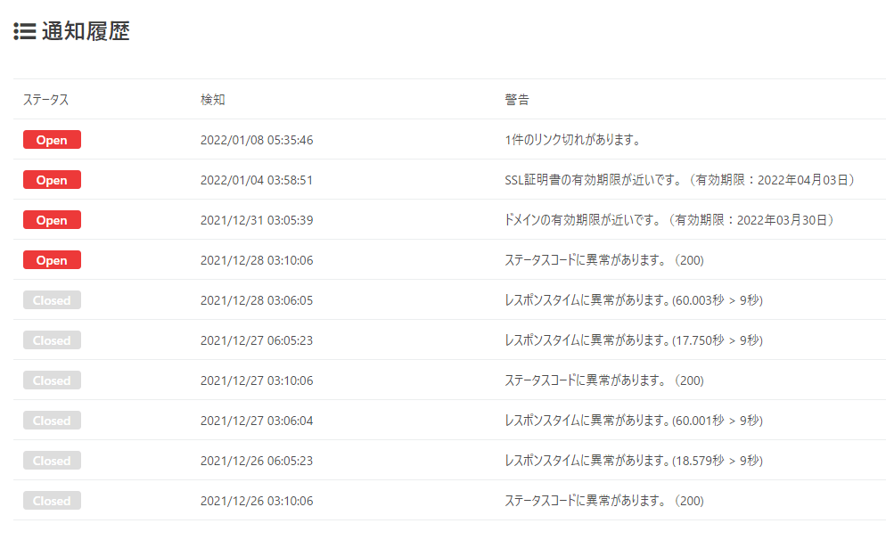
「チャット連携」の機能追加により、メールだけでなく Slack / Chatwork でのアラート通知受け取りが可能になりました。メインの業務連絡ツールがチャットの場合、見逃しやすかったメールでの通知をチャットで確認することで、迅速な障害の対応が実現いたします。また、通知内容をチャット参加者全員で確認できることから、Webサイト運用に関わるチーム全体での情報共有がスムーズに行えます。
「チャット連携」のポイント
・無料で連携可能
※Chatwork 及び Slack は別途利用料が必要
・アプミルで検知した障害情報を任意のチャットルームに通知
プロジェクトごとに作成したチャットへ関連URLごとに通知を飛ばせるため、障害情報の管理が容易に
・大量のドメイン、SSL証明書の有効期限を一括管理
アプミルの管理画面からURLごとに有効期限の確認ができる(有効期限90日前の通知も可能)
・レスポンス遅延や改ざんなどの問題を素早く検知
問題を長期間放置することによるUX低下、ブランドイメージ低下の防止
Chatwork連携機能 設定操作方法(ヘルプ)
アプミル サービス概要
アプミルは、Webサイトが“24時間365日「正しく」「快適」「安全」”に動いていることを、あなたの代わりにチェックしてくれるクラウドサービス(SaaS)です。無料プランでも十分な実用性を備えた機能をご利用いただけます。
フリープラン(無料)
・あらゆるサイトの運営、管理を「楽」にする機能を搭載
・アカウント開設時に100URLの登録ライセンスが付与される
対応機能
・通信チェック
・応答速度チェック
・ステータスコードチェック
・ドメイン有効期限チェック
・SSL有効期限チェック
・アラート発生時のシナリオ監視(巡回監視)
セキュリティプラン(9,800円/1URL)
・顧客の信頼を損なわない、安全なサイトの運営に必要なセキュリティに関する項目を監視
・1URLごとに監視登録が必要
・セキュリティプランに加入したURLもフリープラン内の監視項目の監視が継続される
対応機能
・HTML差分比較
・スナップショット比較
・マルウェア対策
・ソーシャルエンジニアリング対策
・リンク切れチェック
※アラート通知について
フリープラン/セキュリティプランを問わず、メール・チャットでのアラート通知は無料
電話着信・SMSへのアラート通知はフリープラン/セキュリティプランを問わず、架電クレジット(有料)の購入が必要
■株式会社ビヨンドについて( https://beyondjapan.com/ )
株式会社ビヨンドは、2007年4月に設立した、クラウド/サーバーの構築・運用管理、Webシステム開発、Webサービスを手がける会社です。
クラウド/サーバー事業
クラウド/サーバーの設計から構築・移行、24時間365日の運用保守・監視まで、お客様のクラウド/サーバーに関して最高のパフォーマンスをご提供します。
システム開発事業
ソーシャルゲーム・ECサイト・広告サービスなどのWebシステム開発、サーバーサイドのAPI開発を行っています。
Webサービス事業
自社サービスである「予約システム EDISONE(エジソン)」「Webサイト監視サービス Appmill(アプミル)」 など、様々なクラウドサービスの企画・開発・運営を行っております。
会社概要
会社名 : 株式会社ビヨンド
代表取締役: 原岡 昌寛
本社所在地: 大阪府大阪市浪速区湊町2-2-45 オンテックス難波ビル10F
設立 : 2007年4月4日
資本金 : 900万円
従業員数 : 46名(2022年1月時点)


















